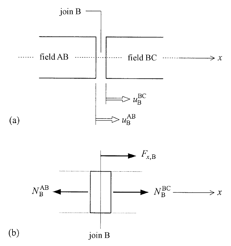
… using differential equations#
This is treated in chapter 2.5 and 2.7 of the book Engineering Mechanics Volume 2 (Hartsuijker and Welleman, 2007).
Exercises#
Exercises in chapter 2.9 of the book Engineering Mechanics Volume 2 (Hartsuijker and Welleman, 2007), answers are available on this website: 2.47 - 2.50.