… for bending

… for bending#

../../../../../_images/image24.png

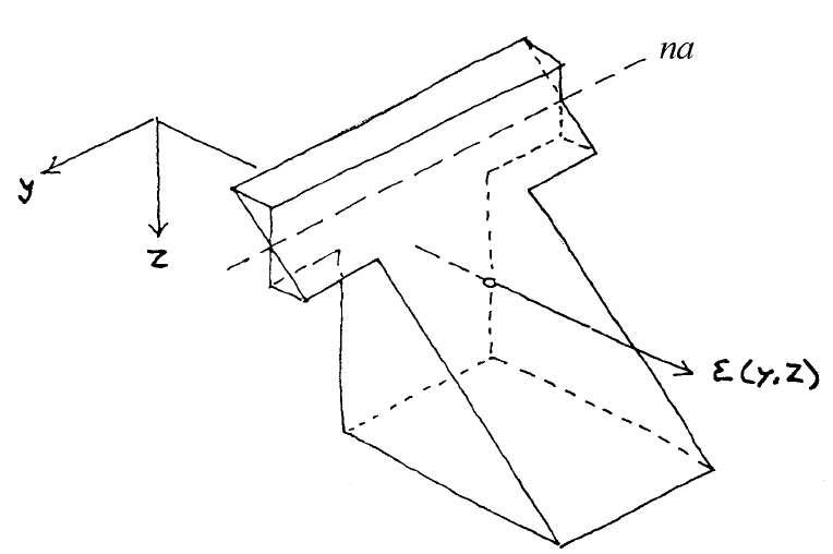
Fig. 31 Figure 2.7a Hartsuijker and Welleman (2007)#

This is treated in chapter 4.2 of the book Engineering Mechanics Volume 2 (Hartsuijker and Welleman, 2007).